上海对外经贸大学-贸大家园

 找回密码
 注册
搜索
查看: 7260|回复: 0
打印 上一主题 下一主题

【新生报到早知道】上海对外经贸大学各类资助政策介绍

[复制链接]
跳转到指定楼层
1
发表于 2015-9-28 12:06:47 | 只看该作者 回帖奖励 |倒序浏览 |阅读模式
上海对外经贸大学是国家财经类大学之一,主校区坐落于上海历史文化发祥地松江区。我校始终秉承着“诚信、宽容、博学、务实”的校训,坚持“以学生为本,以学术为魂”的办学理念,致力于为学生营造一个良好的校园环境。为使得每一位学生能够学无所扰,学有所得,使得每一位学生能够不因经济困难而失学,也使得每一位学生能够因为勤勉而得到激励,我校建立了“奖、贷、勤、助、免”为一体的资助体系,现在就让小编带你一起了解我校各类资助政策吧!




看了这个树状图是不是还是有些晕头转向呢,不用担心!小编现在带你详细了解每一个资助政策的具体内容吧。

“ 具体 介绍 ”


1国家奖学金

资助对象:全日制本专科二年级以上(含二年级)学生中特别优秀的学生。
申请条件:
1、热爱社会主义祖国,拥护中国共产党的领导;
2、遵守宪法和法律,遵守学校规章制度;
3、诚实守信,道德品质优良;
4、在校期间学习成绩优异,社会实践、创新能力、综合素质等方面表现特别突出。
学生每学年申请一次,符合条件者可连续申请,每年9月份开始申报。
资助金额:8000(元/年)
小编提示:在同一学年内,获得国家奖学金的家庭经济困难学生可以同时申请国家助学金,但不得申请国家励志奖学金或上海市奖学金哦。

2国家励志奖学金

资助对象:家庭经济困难、品学兼优的全日制本专科二年级以上(含二年级)学生。
申请条件:
1、热爱社会主义祖国,拥护中国共产党的领导;
2、遵守宪法和法律,遵守学校规章制度;
3、诚实守信,道德品质优良;
4、生活俭朴,并是我校确认的家庭经济困难学生;
5、在校期间学习成绩优秀或学习成绩有明显进步者,烈士子女和孤儿优先;
6、积极参加社会公益活动;
7、具有自我解困的意识,愿意通过自己的努力积极解决经济上的困难。
资助金额:5000(元/年)
小编提示:同一学年内,获得国家励志奖学金的家庭经济困难学生可以同时申请国家助学金,但不得申请国家奖学金或上海市奖学金。

3上海市奖学金

资助对象:全日制本专科二年级以上(含二年级)学生中特别优秀的学生。
申请条件:
1、热爱社会主义祖国,拥护中国共产党的领导;
2、遵守宪法和法律,遵守学校规章制度;
3、诚实守信,道德品质优良;
4、在校期间学习成绩优异,社会实践、创新能力、综合素质等方面表现特别突出。
资助金额:8000(元/年)
小编提示:同一学年内,获得上海市奖学金的家庭经济困难学生可以同时申请国家助学金,但不得申请国家奖学金或国家励志奖学金。

4学校奖学金

资助对象:德、智、体、美等全面优秀的全日制本、专科学生
申请条件:
1、我校全日制本、专科在读学生;
2、热爱祖国,热爱人民,坚持四项基本原则,拥护新时期党的方针政策;
3、遵守《高等学校学生行为准则》和我校的各项规章制度;
4、勤奋学习,成绩优良,积极参加体育锻炼。
学校奖学金分为:优秀奖学金、单项奖学金、帮困奖学金。
资助金额:300—2500(元/年)

5企业奖学金

资助对象:全日制本专科学生中经济困难学生且成绩优秀的学生。
申请条件:学生可根据学院各类企业奖学金申请条件和相关规定,每学年申请一次,符合条件者可连续申请。
资助金额:不等(元/年)



校园地助学贷款


资助对象:家庭经济困难的本专科生(含高职生)、研究生和第二学士学位学生。
申请条件:
1、具有中华人民共和国国籍,且持有中华人民共和国居民身份证;
2、具有完全民事行为能力;
3、诚实守信,遵纪守法,无违法违纪行为;
4、学习刻苦,能够正常完成学业;
5、因家庭经济困难,在校期间所能获得的收入不足以支付完成学业所需基本费用(包括学费、住宿费、基本生活费)。
学生凭当地民政部部门出据的家庭困难证明,办理贷款手续。贷款利息实行学生在校期间100%由财政补贴;毕业后 6年内还清贷款。
资助金额:本科生不超过8000元,研究生不超过12000元(元/年)
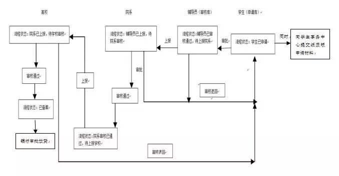
申请流程:


小编提示:全日制普通本专科学生在同一学年内不得重复申请获得校园地国家助学贷款和生源地信用助学贷款,只能选择申请办理其中一种贷款。全日制研究生原则上申请办理校园地国家助学贷款。


生源地贷款
资助对象:家庭经济困难的本专科生(含高职生)、研究生和第二学士学位学生。
申请条件:
1、具有中华人民共和国国籍;
2、诚实守信,遵纪守法;
3、已被根据国家有关规定批准设立、实施高等学历教育的全日制普通本科高校、高等职业学校和高等专科学校(含民办高校和独立学院,学校名单以教育部公布的为准)正式录取,取得真实、合法、有效的录取通知书;
4、学生本人入学前户籍、其父母(或其他法定监护人)户籍均在本县(市、区);
5、家庭经济困难,所能获得的收入不足以支付在校期间完成学业所需基本费用。
资助金额:本科生不超过8000(元/年),研究生不超过12000(元/年)
申请流程:详询学生本人户籍地银行
小编提示:全日制普通本专科学生在同一学年内不得重复申请获得校园地国家助学贷款和生源地信用助学贷款,只能选择申请办理其中一种贷款。全日制研究生原则上申请办理校园地国家助学贷款。


勤工助学及家教
资助对象:全校本科生和研究生。
主要内容:利用课余时间参加各种形式的勤工助学活动,获取相应报酬,以补贴学习期间的费用。我校的勤工助学活动主要分为三类:校内勤工助学岗位、校外家教和其他兼职岗位。
1、校内勤工助学岗位是由学校各部门提供的兼职岗位,学生可在我校学生应用系统中(学校首页-行政机构-学生处-学生应用系统)申请,由校勤工助学中心和用人部门进行审核通过,工作地点均在学校内;
2、校外家教由勤工办家教部提供兼职岗位,有求职意向的同学只需添加家教部飞信,家教岗位将会在飞信上发布,学生可自主选择岗位,经过家教部的面试培训后即可上岗;
3、校外兼职岗位由勤工办市场部提供兼职岗位,由运营部在学校内招聘,勤工办将为学生寻找最优质的兼职岗位,有求职意向的同学可在运营部招聘会上直接向企业报名或加入运营部飞信,兼职岗位将在飞信上发布,学生可自主选择岗位,面试将由合作企业进行,工作地点不定。
校外岗位可关注“上海外贸PACC勤工办”公众订阅号!
资助金额:根据具体工作而定
小编提示:学生参加勤工助学不应当影响学业,原则上每周不超过8小时,每月不超过40小时。



国家助学金

资助对象:家庭经济困难的全日制本专科(含第二学士学位)学生。
申请条件:
1、热爱社会主义祖国,拥护中国共产党的领导;
2、自觉遵守宪法和法律,遵守学校各项规章制度;
3、诚实守信,道德品质优良;
4、勤奋学习,积极上进;
5、家庭经济困难,生活俭朴;
6、积极参加社会公益活动;
7、具有自我解困的意识,愿意通过自己的努力积极解决经济上的困难。
资助金额:3000(元/年),分10个月发放,每个月300元。
小编提示:同一学年内,获得国家助学金的学生,可同时申请国家奖学金、国家励志奖学金或上海市奖学金中的任一项。

特殊困难补助

资助对象:家庭经济困难学生
资助内容:突发性的临时困难(如意外灾害、家庭遭受突然变故等情况),冬季送温暖、假期交通补助等。



学费减免
资助对象:家庭经济困难的全日制本专科一年级学生。
申请条件:
1、烈士子女或孤儿;
2、父或母一方亡故的家庭、残疾人家庭、父母因患严重疾病丧失或完全丧失劳动力的家庭。
3、家庭人均月收入低于当年城市居民最低生活保障标准的学生。
4、来自老、少、边、贫困地区,家庭生活确实困难,又无其它经济来源的学生;
5、家庭遭受意外灾害,造成难以支付全额学费的学生。

资助金额:不定,分全部或部分减免


其他
慈善基金会、社会企业、学校资金
资助对象:家庭经济困难的全日制本专科(含第二学士学位)学生、研究生。
主要内容:为了使更多家庭经济困难的学生获得资助,慈善基金会和社会企业也会不定期地给予困难学生特殊资助。
资助金额:不定

小贴士:看完上述的介绍是不是对上海对外经贸大学学生资助的相关政策有了基础的了解呢?小编知道,大家一定还有疑惑,所以小编就用Q&A的形式给大家解释解释。










如果还有什么需要了解的,欢迎调戏小编君哦。
上海对外经贸大学党委学工部

您需要登录后才可以回帖 登录 | 注册

本版积分规则

QQ|Archiver|手机版|小黑屋|上海对外经贸大学 mysuibe.com ( 沪ICP备06058577号

GMT+8, 2025-12-13 19:01 , Processed in 0.314934 second(s), 22 queries .

Powered by Discuz! X3.1

© 2001-2013 Comsenz Inc.

快速回复 返回顶部 返回列表